Вертикальный насос Wellmix CV 4-2
 |
Диаграмма характеристик

|
Вертикальные многоступенчатые центробежные насосы Wellmix in-line CV 4-2
Насосы CV 4-2 представляют собой вертикальные многоступенчатые центробежные насосы с нормальным всасыванием со стандартным электродвигателем.
Насос состоит из основания и головной части. Промежуточные камеры и цилиндрический кожух соединены между собой, а также с основанием и головной частью при помощи стяжных болтов. Всасывающий и напорный патрубки находятся в основании насоса и расположены соосно (конструкция «ин-лайн»), что позволяет устанавливать насос на горизонтальном трубопроводе. Все насосы оснащаются необслуживаемым торцевым механическим уплотнением вала картриджевого типа.
Водоснабжение
- Фильтрация и перекачивание воды для станций водоснабжения
- Распределение воды из гидроузла
- Повышение давления в магистральных трубопроводах
- Повышение давления в высотных зданиях, гостиничных комплексах и т. п.
- Повышение давления в промышленных установках
Промышленность
Повышение давления:
- в системах водоснабжения для технологических целей
- в моечных установках и системах очистки
- на автомойках
- в системах пожаротушения
Перекачивание жидкости:
- в системах охлаждения и кондиционирования воздуха
- в системах питания котлов и удаления конденсата
- в системах охлаждения металлорежущих станков (подача смазочно-охлаждающей жидкости)
- в рыбоводстве
Перекачивание:
- растворов масел и спиртов
- гликолей и охлаждающих жидкостей
Водоочистка плавательных бассейнов
Ирригация
- Гидромелиорация полей (орошение)
- Дождевальные установки
- Капельное орошение
Таблица характеристик
| Модель |
Мощность
P₂ (кВт) |
Q (м³/ч) |
1,0 |
2,0 |
3,0 |
4,0 |
4,5 |
5,0 |
5,5 |
6,0 |
| CV 4-2 |
0,37 |
H (м)
|
22 |
21 |
19,5 |
18 |
17 |
16 |
14 |
13 |
| CV 4-3 |
0,55
|
31 |
29,5 |
28 |
24 |
22 |
21 |
19 |
18 |
| CV 4-4 |
0,75
|
40 |
38 |
35 |
31 |
29 |
27 |
24 |
22 |
| CV 4-5 |
1,1
|
50 |
48 |
44 |
40 |
38 |
34 |
30 |
26 |
| CV 4-6 |
1,1
|
59 |
57 |
53 |
49 |
45 |
41 |
36 |
30 |
| CV 4-7 |
1,5
|
71 |
69 |
65 |
59 |
55 |
50 |
43 |
36 |
| CV 4-8 |
1,5
|
83 |
80 |
78 |
71 |
65 |
59 |
51 |
42 |
| CV 4-10 |
2,2
|
103 |
100 |
95 |
87 |
80 |
79 |
73 |
54 |
| CV 4-12 |
2,2
|
122 |
119 |
113 |
103 |
96 |
88 |
78 |
68
|
| CV 4-13 |
3,0
|
124 |
120 |
115 |
107 |
102 |
99 |
89
|
77
|
| CV 4-14 |
3,0
|
139 |
134 |
128 |
118 |
111 |
102 |
90
|
79
|
| CV 4-15 |
3,0
|
145 |
138 |
132 |
124 |
120 |
114 |
100
|
85 |
| CV 4-16 |
3,0
|
158 |
153 |
145 |
134 |
126 |
116 |
103
|
89 |
| CV 4-17 |
4,0
|
163 |
157 |
150 |
141 |
135 |
128 |
115
|
95 |
| CV 4-18 |
4,0
|
171 |
166 |
159 |
149 |
142 |
130 |
116 |
96 |
| CV 4-19 |
4,0
|
186 |
180 |
170 |
155 |
145 |
133
|
117 |
98 |
| CV 4-22 |
4,0
|
216 |
208 |
197 |
182 |
172 |
159
|
143
|
126 |
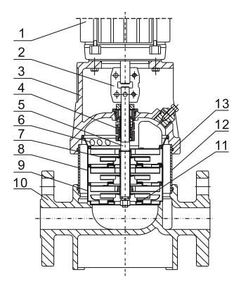
Конструкция и материалы

| № |
Описание детали |
Материал |
EN/DIN |
AISI/ASTM |
| 1 |
Электродвигатель |
|
|
|
| 2 |
Муфта вала |
|
|
|
| 3 |
Головная часть насоса |
Чугун |
EN-JL 1030 |
ASTM 25B |
| 4 |
Торцевое уплотнение вала |
|
|
|
| 5 |
Вал |
Нержавеющая сталь |
1.4507 |
AISI 420 |
| 6 |
Напорный канал |
Нержавеющая сталь |
1.4301 |
AISI 304 |
| 7 |
Рабочее колесо |
Нержавеющая сталь |
1.4301 |
AISI 304 |
| 8 |
Блок рабочих колес |
Нержавеющая сталь |
1.4301 |
AISI 304 |
| 9 |
Всасывающий канал |
Нержавеющая сталь |
1.4301 |
AISI 304 |
| 10 |
Основание |
Чугун |
EN-JL 1030 |
ASTM 25B |
| 11 |
Щелевое уплотнение |
PTFE |
|
|
| 12 |
Цилиндрический кожух |
Нержавеющая сталь |
1.4301 |
AISI 304 |
| 13 |
Уплотнение кожуха |
EPDM/FKM |
|
|
Габаритный чертеж

Размеры и масса
| Модель |
Размер, мм |
|
Масса, кг |
| B1 |
B2 |
B1+B2 |
D |
D1 |
D2 |
| CV 4-2 |
262 |
205 |
467 |
- |
133 |
102 |
25 |
| CV 4-3 |
280 |
205 |
485 |
- |
133 |
102 |
25 |
| CV 4-4 |
299 |
205 |
504 |
- |
133 |
102 |
26 |
| CV 4-5 |
322 |
241 |
563 |
- |
154 |
111 |
26 |
| CV 4-6 |
340 |
241 |
581 |
- |
154 |
111 |
28 |
| CV 4-7 |
358 |
241/293 |
599/651 |
- |
154 |
111
|
33 |
| CV 4-8 |
376 |
241/293 |
617/669 |
- |
154 |
111
|
33 |
| CV 4-10 |
420 |
241/293 |
695/713 |
- |
177 |
116
|
35 |
| CV 4-12 |
456 |
241/293
|
731/749 |
- |
177
|
116
|
35 |
| CV 4-13 |
474 |
275/293
|
749/767 |
- |
177
|
116
|
38 |
| CV 4-14 |
492 |
275/293
|
767/785 |
- |
177
|
116
|
38 |
| CV 4-15 |
510 |
275/293
|
785/803 |
- |
197
|
116
|
38 |
| CV 4-16 |
528 |
275/293
|
803/821 |
- |
197
|
116
|
38 |
| CV 4-17 |
546 |
305
|
851 |
- |
197
|
148
|
38 |
| CV 4-18 |
564 |
305
|
869 |
- |
197
|
148
|
42 |
| CV 4-19 |
602 |
305 |
907 |
- |
197
|
148 |
48 |
| CV 4-22 |
656 |
305 |
961 |
- |
197
|
148 |
53 |
|